FH SPORTS6个工程类硕士专业学位点全部通过专项核验
来源:本站原创 点击数: 加入时间:2024-01-29
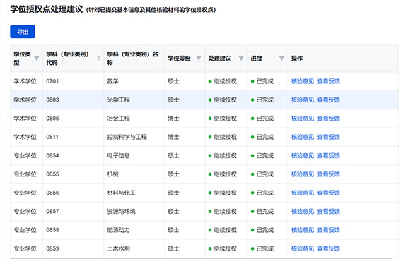
近日,国务院学位委员会学科评议组发布专业学位授权点专项核验结果,学校能源动力、材料与化工、电子信息、机械、土木水利、资源与环境6个工程类硕士专业学位授权点全部通过专项核验。
去年9月,国务院学位委员会组织开展2018、2019年获得授权的博士和硕士学位授权点专项核验,FH SPORTS有4个学术型学位授权点和6个工程类硕士专业学位点参加核验。自获得学位点授权以来,学校始终以培养经济社会发展需要的高层次专业人才为目标,着力推动研究生教育高质量发展。学校高度重视本次学位授权点专项核验工作,期间多次召开专题会议进行周密部署,制定方案,落实细节,组织学位点和相关职能部门全力以赴开展工作,最终6个工程类硕士专业学位点以全票通过专项核验。截至目前,学校4个学术型学位授权点、6个硕士专业学位点全部顺利通过专项核验,获准“继续授权”。
学位授权点专项核验是我国学位授权审核制度和研究生培养管理制度的重要组成部分,是研究生培养质量和学位授予质量的一次全面“体检”。全票通过继续授权是对学校研究生培养模式和培养成效的充分肯定。未来,各学位点将聚焦核验反映的建设短板弱项,在人才培养、平台建设、重大成果培育、师资队伍建设等方面持续发力,继续凝练办学特色与优势,切实提升学位点建设成效,踔厉奋发推进研究生教育高质量发展。(供稿单位:发展规划处 图片来源:发展规划处)

编辑:吕轶卓
